Britain’s Secret Listeners


Today Hack-A-Day has an unsually good report on Britain’s Voluntary Interceptors. I was especially touched by the story of the guy who provided reports while still bedridden from devastating wounds received in World War I.

https://hackaday.com/2025/06/12/crowdsourcing-sigint-ham-radio-at-war/#more-786810

I’ve had the video on the SolderSmoke blog several times. It is so good that it warrants inclusion yet again:

https://www.youtube.com/watch?v=RwbzV2Jx5Qo&t=228s

That regen looks a lot like the one I bought at the Kempton Park rally (London) so long ago. I still have it. And those headphones found in the old “radar” station look a lot like some that I have in my shack today. And of course there is that HRO dial. I build a whole receiver around that gem from Armand WA1UQO.

I thought the comments on the ability to detect the nationality of the enemy operator from his Morse Code “fist” (sending style) was very interesting.

Three cheers for the Voluntary Interceptors!


Hiss, Filters, QRM, and Hearing Loss: Do we need AF filters in direct conversion receivers?

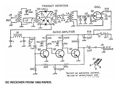
L6 is the 88mH toroid

Messages on Discord about the need to knock down higher frequency audio response in the SolderSmoke direct conversion receiver got me thinking.

I agree with Rick Campbell and others on the benefits of hearing a “wide open” direct conversion receiver. But Rick and others have built DC receivers with 3 kHz low pass AF filters. This made me ask myself a question: Is an audio filter in a direct conversion receiver a good idea?

And I started wondering if perhaps I was being too dismissive about the complaints about high frequency audio — I had been attributing them to newcomers who were just unaccostomed to radio noise or “static.” But maybe there was more to it than that. Maybe a big part of the problem was in my head, specifically in my ears. So this morning I did an experiment. I took an online hearing test. First, without my hearing aids: As expected, it showed significant high frequency loss. (It was as if the US Army had installed a 3 kHz audio low pass filter in my head!) Then I put my hearing aids in and retook the test: This time I passed the test and showed no loss. I then listened to the DC receiver with my hearing aids in. Now I could hear what builders on the Discord server were commenting on: I could hear higher frequency hiss, and, more importantly, stations that were producing 4-5 kHz sounds on my speaker were audible and annoying.

So I went back to Wes Hayward’s November 1968 QST article. In his receiver, he has a low pass AF filter using an 88 MILLIHenry coil and a couple of capacitors to ground. I had a few of the coils (given to me years ago by a NOVA QRP club member) so I built it. With my hearing aids in, I noticed an immediate improvement. I then did what one of the Discord builders did and put the filter in with a switch that would let me make “with and without” comparisons. The filter definitely cuts down on any AF above about 3.5 kHz. And it doesn’t seem to do damage to the desired signal. This is useful. I left the W7EL diplexer in the circuit.

This filter won’t solve the image or “opposite sideband” problem inherent to simple DC receivers, but it will help with signals or noise that are producing tones above about 3.5 kHz in the receiver. I think this is especially important in countries in which there is a lot of SSB crowding on 40 meters. The UK, for example, has an allocation from 7.0 to 7.2 MHz. In the US we go from 7.0 to 7.3 MHz. That is a big difference.

So the answer is probably yes, an AF filter in a direct conversion receiver is probably a good idea, especially if you can switch the filter out of the receiver. You can live without these filters. Not having the filter keeps the receiver very simple, and lets it sound really great. But having the filter in there does help reduce interference and high frequency hiss. So I think this is a useful add-on mod for builders who see a need to cut down on the kind of interference that a lack of this filter causes.

In 2019 W7ZOI noted: “Another unusual element is the 88 mH toroid used in the audio low pass filter at the detector output. A viable substitute would be a 100 mH inductor with radial leads. The muRata 19R107C (from Mouser) should work. Bourns also offers a variety of similar parts.”

Adrian M7EFO’s FB SolderSmoke Direct Conversion Receiver

Adrian has completed a very FB direct conversion receiver. Really nice work. It is especially pleasing to see that Adrian is a member of GQRP. FB Adrian. SSB above, CW in the video below. I think that China Radio International signal would be a good early target for your tinkering and mods. We fought a similar battle against Radio Marti.

Adrian writes:

Did it!!! It Works.! Receives CW, SSB,FT8. Awesome. Thanks Bill. Thanks Dean. It was fun. Now for the tinkering and modifications.

CW too. As an added bonus it picks up China Radio International radio whether I like it or not.😄

Hello. I live in East Barnet a suburb of London, UK.

I work as an electronic technician and tech support for a small company.

My rig is a Xeigu G90 with a home made dipole cut for 20 metres and 40 metres and run QRP at 5-10 watts, 5 watts FT8, I’ll save the kilowatts for boiling the kettle! I’m using an old PC server power supply.

The shack computer is a Raspberry Pi3 Raspberry Pi400 (Stolen Borrowed from my daughtercheeky). I am surprised at how well my set up works. Sometimes.

I am a member of the GQRP club and have started building some kits and homebrew in the Manhattan style.

Currently studying for my UK Intermediate licence with Bath Based Distance Learning.

Chris M6CRD’s FB SolderSmoke Homebrew Direct Conversion Receiver

Chris M6CRD built a really nice looking recceiver. And it sounds great too, both on CW (above) and SSB (below).

Chris writes:

Hi Bill. It is using an audio transformer on the output but its an ebay one of unknown impedance. The description said 1.3k:8r but I have my doubts how accurate that is. The radio runs fine after I quenched some initial oscillation with larger caps on the power rail of the audio amp, its just a little quieter than I suspect it should be with the correct transformer.

I told Chris that Dean and I had also had some early trouble with AF transformers of questionable specifications. But in any case his receiver was clearly inhaling very nicely.

Congratulations Chris. Welcome to the Hall of Fame!

For more information on how you too can build the receiver:


Join the discussion – SolderSmoke Discord Server:

https://discord.gg/Fu6B7yGxx2

Documentation on Hackaday:

https://hackaday.io/project/190327-high-schoolers-build-a-radio-receiver

SolderSmoke YouTube channel:

Dave G6GEV’s Very FB SolderSmoke Direct Conversion Receiver, with an Innovative Bic Pen PTO!

This is a really nice one. In the “proof of life” video we find a lot of proof, and a lot of life. SSB from the UK sounds really good. This is one of the beauties of the Direct Conversion architecture — you end up with a receiver that sounds very good. Doug DeMaw said these receivers have “presence” — it sounds like the other fellow is present in the room with you.

Dave’s happiness and satisfaction really shines through in his comments. Dave writes:

I’ve just completed my DCR, and it’s been an absolute blast!

I’m a retired EE, where PCBs and surface-mount components are the norm. I’ve occasionally prototyped using dead bug or Vero-board, but this is my first exposure to Manhattan construction – and I’ve thoroughly enjoyed it. Electronics and radio were my childhood passions, but inevitably, they lost some of their appeal once they became a career. Thank you, Bill and Dean, for helping me regain some of that lost joy!

My biggest challenge was trying to locate parts from a single UK source to minimize shipping costs (yes, I’m cheap). I briefly contemplated building a push-pull audio amp to avoid purchasing the transformer from Mouser, but in the end, I found most parts there, then padded the order with common junkbox parts to get free shipping. I’m so pleased that I heeded Bill and Dean’s advice to build the receiver as presented (well, almost). The results are so much better than I expected, with great-sounding, room-filling audio when connected to the passive half of an old active stereo speaker pair. Tuning is a bit fiddly but improves with practice. Luckily, I had no problems with any of the stages, and it just worked when the boards finally came together.

To save money (did I mention that I’m cheap?), I decided to use NP0 capacitors in the PTO instead of silver mica. The thermal coefficient should be similar, and if they didn’t work out, I planned to swap to mica later on. It turns out NP0 works great for me, with no noticeable drift after several minutes.

I don’t have easy access to a 3D printer, so I decided to roll my own PTO former. I wound the coil on a Bic Biro with a layer of heat-shrink tubing to bring the diameter to 10mm. This was glued to a wooden support, and the M6 threaded brass bar was a perfect fit inside the Biro. I finished it off with a tuning knob made from an old RC aircraft prop spinner. After experimenting with coil spacing, I ended up with wide spacing under the actively tuned area of the coil and tight spacing at the other end. This reduced the tuning sensitivity, and I now get around 40 kHz per revolution.
I’d really like to make a home-brew 2-way contact with this receiver, so maybe I’ll try a DSB transmitter next…
Thanks again to Bill and Dean for providing this fantastic resource. I’ve been a SolderSmoke listener since episode #1, and after 20 years of constructing radios vicariously, I’ve finally built one myself!
——————–
FB Dave! Thanks and congratulations.
——————————-

For more information on how you too can build the receiver:


Join the discussion – SolderSmoke Discord Server:

https://discord.gg/Fu6B7yGxx2

Documentation on Hackaday:

https://hackaday.io/project/190327-high-schoolers-build-a-radio-receiver

SolderSmoke YouTube channel:

Chris’s Homebrew Direct Conversion Receiver — From Wales in the UK

A few of the builders are so new to the hobby that they don’t even have ham licenses yet. That is the case with Chris from Wales.

Chris writes:

Here’s mine up and working, antenna is now 84’ of wire from a window to a tree with 33’ counterpoise hanging to the ground. Just for the record I have absolutely no experience of radio and only one year of messing around with electronics. I’ve learnt more in the last 4 weeks thanks to you guys. It has been a great experience. Thanks

I replied that if there were any justice in the world, Chris would be given a ham license just on the basis of having built this great looking and great sounding receiver. You can hear it handling some 40 meter SSB signals in the clip above.

Thanks a lot Chris!

For more information on how you too can build the receiver:

Join the discussion – SolderSmoke Discord Server:

https://discord.gg/Fu6B7yGxx2

Documentation on Hackaday:

https://hackaday.io/project/190327-high-schoolers-build-a-radio-receiver

SolderSmoke YouTube channel:


Chris G7LQX’s SolderSmoke Challenge DC Receiver

It looks and sounds really good. It is inhaling SSB, CW, and digital signals on 40 meters. Great job Chris.

More details here. It is NOT to late to build one of these.

Join the discussion – SolderSmoke Discord Server:

https://discord.gg/Fu6B7yGxx2

Documentation on Hackaday:

https://hackaday.io/project/190327-high-schoolers-build-a-radio-receiver

SolderSmoke YouTube channel:

https://www.youtube.com/@soldersmoke

First 10 Meter AM Contact from Hi7/N2CQR

I threw this in the bag on the way to the DR, almost as an afterthought. But I am glad I did. Today, watching reports on my 10 meter CW beacon (Mike WN2A provided the keyer), I noticed that my signal was unusually strong. At W3POA I was 7 db above the noise. At DF2CK I was 4 db above the noise. So I switched to the 10 meter AM rig (which is a converted GE brand CB rig) and worked John G3YPZ (see video above). I was running about 5 watts to a quarter wave vertical. But the signal reached the UK.

Shock and Awe: The Story of Electricity — Wonderful Video by Jim Al-Khalili (sent to us by Ashish N6ASD)

From Ashish N6ASD — Oil Lamps and Electronics

Here is the link to the video:
First, thanks to Ashish Derhwagen N6ASD for alerting me to this video. You should all check out his blog.
This is a really important video. It is the best I have seen about the history of electricity and electronics. It is from 2011, but it is still very good. Jim Al-Khalili travels through the world and displays the actual devices developed by the likes of Heinrick Herz, Guglielmo Marconi, and Jagadish Chandra Bose. There is great discussion of Benjamin Franklin, Volta and Galvani. The role of electricity in The Enlightment is discussed.

Jim talks about the early transatlantic cables, and why some of them didn’t work.

We see Jagadish Chandra Bose developing early point-contact semiconductors (because the iron filings of coherers tended to rust in the humid climate of Calcutta!)

There is a video of Oliver Lodge making a speech. There is a flip card video of William Crookes (one of the inventors of the cathode ray tube and the originator of the Crooke’s cross).

We see actual coherers.

There is simply too much in this video for me to adequately summarize here. Watch the series. Watch it in chunks if you must. But watch it. It is really great.

Thanks Ashish. And thanks to Jim Al-Khalili.

https://www.youtube.com/watch?v=Gtp51eZkwoI

Tally Ho! Leo Solders — Aurora — Satellites — Meteors — Tides — Starlink

I’ve been following this YouTube channel, probably since early in the pandemic. It is not about radio, but in this episode we see Leo actually do some soldering. NOT BAD! Lots of other related stuff.

Here is the YouTube channel: https://www.youtube.com/@SampsonBoatCo

Who can tell us more about Lovelock’s homebrew shortwave radio?

Three years earlier, Lovelock had listened on his homemade shortwave radio in Finchley to the ‘beep, beep, beep’ transmission of the USSR’s Sputnik, the first satellite that humanity had put into orbit. Now he was playing with the super powers.”


A bit of a soap opera, but the radio question is, I think, interesting.

Electromagnetic Waves — Sir Lawrence Bragg — Royal Institution (Video)

This is a really wonderful video. I especially liked his presentation on the nature of the EM spectrum, and his use of the centimeter waves to demonstrate wave behaviour. The two slit experiment was very nice. Sir Lawrence’s presentation on SWR was brilliant.

Still, you wonder how would all this be done if those waves of Sir Lawrence (and Young, Maxwell and Faraday) were considered to be the photons that they also really are?

In any case, three cheers for the Royal Institution: https://soldersmoke.blogspot.com/search?q=Royal+Institution

Rigs on Vertical Boards — Then and Now

I saw this on Facebook today. G1AVQ (SK) Rig
The G1AVQ rig reminded me of the N3FJZ rig that I worked in 2015:
I am a big fan of breadboards, and have recently been following the lead of Frank Jones W6AJF in using pine boards as the bases for my homebrew rigs. Mine are more horizontal, but we see here from N3FJZ and G1AVQ that a vertical orientation works too.

Laser Communication in London 2007 — a Pointer, a VW Solar Panel, and Radio Kismet

Hack-A-Day has an article today about using a laser for data transmission. This reminded me of a discussion I had with Mike KL7R about similar systems. My son Billy and I built a very simple version in London in 2007. Check out the podcast above. Scroll foward to 19 minutes 15 seconds and you will hear how we did this.

This was Mike’s last podcast. He was killed in a car accident in Hawaii about 10 days later. RIP Mike. 73 OM.

Mike KL7R

Ian Keyser G3ROO and Spy Radios

Above is a recent ICQ podcast interview with Ian.


This sojoun into spy land started with this WTF video: https://www.youtube.com/watch?v=4f3ZJYdmpZw

Crypto Museum explains what the Mk 301 was all about: https://www.cryptomuseum.com/spy/mk301/index.htm

I have had Ian on the SolderSmoke blog several times: https://soldersmoke.blogspot.com/search?q=%22Ian+Keyser%22

N2CQR at the key with a G3ROO paraset

Basil Mahon is an Author for Us — He explains Faraday, Maxwell, and Heaviside

Armand WA1UQO has sent me two of Basil Mahon’s books. They are both really great. He is a wonderful writer who has the rare ability to present not only the people who made the discoveries, but also the technical details of the discoveries themselves. There is so much to learn from Basil Mahon’s books. I put a link to one of them on the column to the right >>>>>>>>>>>>>>>>>>>>>>

I bought his book on Maxwell so I can read it on a long flight our to California.

PERSONAL:

Born May 26, 1937, in Malta; married Ann Hardwick (a teacher of chemistry), April 1, 1961; children: Tim, Sara, Danny. Education: Attended Royal Military Academy, Sandhurst, 1955-57; Royal Military College of Science, B.Sc., 1960; Birkbeck College, London, M.Sc., 1971.

Check out his career:

British Army, career officer, serving with Royal Electrical and Mechanical Engineers in Germany, Aden, and United Kingdom, 1955-74, retiring as major; Government Statistical Office, civil servant, 1974-96. Consultant and trainer on censuses and statistics, including work for clients in Russia, Estonia, Croatia, and Republic of Georgia.

And his thoughts on writing:

Basil Mahon on writing: “To me, the joy of writing is simply the chance to give readers the joy of reading—to share one’s thoughts and passions with them, hoping to leave them with a feeling of pleasure and well-being. By the time I came to write The Man Who Changed Everything: The Life of James Clerk Maxwell, careers in the army and the civil service had given me plenty of practice in writing instructions—where crispness and clarity were the cardinal virtues—so the big test was to try to hold fast to these qualities and to entertain the reader at the same time.”

From the Netherlands, Manu Joseph explains why he loves Mahon and Forbes’ book on Faraday and Maxwell:

Thank you Armand, and thank you Basil Mahon.

Spy Rigs, Para Sets, Bugs, and Enigma Machines — Dr. Tom Perera W1TP (video)

This is a really amazing presentation by Tom Perera W1TP to the Fairlawn (NJ) Amateur Radio Club.

There is so much great info in this presentation. Some of the highlights for me:

— The U.S. Civil War telegraphic (wired) spy set was just mind blowing. I had never heard of this.

— The way the Nazis transmitted a signal 1 kc off the BBC frequency, so that Germans who tuned their Nazi-issued receivers to the BBC could be detected by neighbors (from the resulting 1 kc tone!) and turned in to the Gestapo.

— “Things don’t land gently when dropped by parachute.” Indeed. This was a reminder of the courage of the young women who parachuted into Nazi-held territory during WWII. Like Paulette. It was great to see her with her Paratrooper wings on. AIRBORNE! And the picture of the operator with the bicycle generator was of Virginia Hall. See: https://www.npr.org/2019/04/18/711356336/a-woman-of-no-importance-finally-gets-her-due That portrait hangs in the hallway of the National War College.

— How they put the schematic of the PRC-5 right into the box. Great idea. But it had a terrible receiver. One of the schematics showed a 455 kc IF and a BFO. So they sent in superhets, not just regens.
N2CQR operating the Para Set of G3ROO around 2009
This video makes me want to build a Para Set.

Thanks a lot to Tom W1TP and the Fairlawn ARC.

Valveman — The Story of Gerald Wells

Don’t be deterred by the annoying test patterns at the start of this video. Just skip past them. The rest of the video is quite good. Or you could just click on this link and avoid the first 83 seconds of test pattern: https://youtu.be/Y8w6iwaAGJ4?t=83

Gerald Wells has been mentioned on this blog before, but I don’t think we’ve ever presented the full documentary on this fellow. Here it is. Gerry is clearly one of us: a radio fiend, obsessed (as he admitted!) with wireless, a victim of THE KNACK.

George WB5OYP of the Vienna Wireless Society got to meet Gerald Wells and visit his museum. George alerted me to this video. Tony G4WIF also was able to visit Gerry and his museum.

The documentary is full of interesting stuff, and is, in itself, a Knack Story. Wells mentions the Crippens murder so well described by Eric Larson in “Thunderstruck.” It was this crime that brought radio to the center of public attention.

Who is the Man in the Portrait in Artie Moore’s Shack?

Who is this person? He is in a prominent position in Artie Moore’s very early radio shack. Artie was obviously big on labeling things, and there is a label under the picture but I can’t make it out. What do you folks think? Who is this?