Category: Einstein — Albert
Too Simple? Deficiency of the Lafayette HA-600A Product Detector?
I’ve been having a lot of fun with the Lafayette HA-600A receiver that I picked up earlier this month. Adding to the mirth, I noticed that on SSB, the signals sound a bit scratchy, a bit distorted, not-quite-right. (I’m not being facetious; this is an interesting problem and it might give me a chance to actually improve a piece of gear that I — as a teenager — had been afraid to work on.)
Before digging into the circuitry, I engaged in some front panel troubleshooting: I switched to AM and tuned in a strong local AM broadcast signal. It sounded great — it had no sign of the distortion I was hearing on SSB. This was an important hint — the only difference between the circuitry used on AM and the circuitry used on SSB is the detector and the BFO. In the AM mode a simple diode detector is used. In SSB a product detector and BFO is used. The BFO sounded fine and looked good on the scope. This caused me to focus on the product detector as the culprit.
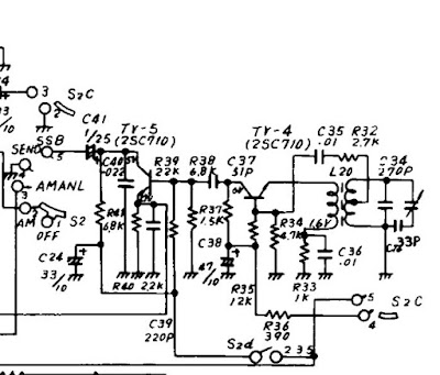
Check out the schematic above. Tr-5 is the product detector. It is really, really simple. (See Einstein quote below.) It is a single-transistor mixer with BFO energy going into the base and IF energy going into the emitter. Output is taken from the collector and sent to the audio amplifiers. (A complete schematic for the receiver can be seen here: https://nvhrbiblio.nl/schema/Lafayette_HA600A.pdf )
I had never before seen a product detector like this. One such detector is described in Experimental Methods for RF Design (page 5.3) but the authors devoted just one paragraph to the circuity, noting that, “We have not performed careful measurement on this mixer.” The lack of enthusiasm is palpable, and probably justified.
A Google search shows there is not a lot of literature on single BJT product detectors. There is a good 1968 article in Ham Radio Magazine: http://marc.retronik.fr/AmateurRadio/SSB/Single-Sideband_Detectors_%5BHAM-Radio_1968_8p%5D.pdf It describes a somewhat different circuit used in the Gonset Sidewinder. The author notes that this circuit has “not been popular.”
To test my suspicion that the product detector is the problem, I set up a little experiment. I loosely coupled the output of a signal generator to the IF circuitry of the HA-600A. I put the sign gen exactly on the frequency of the BFO. Then, I switched the receiver to AM, turning off the BFO and putting the AM diode detector to work. I was able to tune in the SSB signals without the kind of distortion I had heard when using the product detector.
So what do you folks think? Is the product detector the culprit? Or could the problem be in the AGC? Should I start plotting a change in the detector circuitry? Might a diode ring work better?
Excellent Video on Maxwell’s Equations
Really well-done. He gets to the essence without getting bogged down in the math. Great graphics too.
Great Video: The Secrets of Quantum Physics
Coils, Magnets, and Special Relativity (video)
Our book: “SolderSmoke — Global Adventures in Wireless Electronics” http://soldersmoke.com/book.htm Our coffee mugs, T-Shirts, bumper stickers: http://www.cafepress.com/SolderSmoke Our Book Store: http://astore.amazon.com/contracross-20
Inductive Reactance and Special Relativity
Bill,
I’d been meaning to share these stories with you after I read your book a couple years ago but I never got to it. I thought you might enjoy them, from an “engineering perspective”, I guess.
When I first saw this, in my early 20s, I was completely floored! Nowhere had I ever learned anything like this from the ham license manuals or even my basic physics course. The implications were also very profound — magnetism was nothing more than electrostatic attraction, the attraction between charges. The “electromagnetic” force was really just an electric force. Relative motion between charges gives the illusion of “magnetism”.
Much later, I listened to some of the old Feynmann lectures. In them at one point he adamantly proclaimed that there’s only the electric force between charges, and there is no magnetic force! I still find this confusing. Recently I brought this up to a university RF engineering professor. I wondered why we dealt with Maxwell’s equations when in reality the magnetic field is an illusion. The “real” formulas come from Feynmann’s theory of quantum electrodynamics! His reply was something along the lines of Maxwell’s equations being a solution of quantum theory that worked well for our purposes. To be honest, I didn’t really understand his reply and I’m still skeptical! I think his point was that the QED calculations are overly complicated and unnecessary for most problems we deal with, things like patterns from an antenna. I don’t think Maxwell’s equations appropriately describe things like lasers though, which are more quantum in nature with the coherent beam.
FYI, most engineering students I ran across had only passing curiosity for these things. Only in graduate school did I start to find people curious enough to really try to understand “what lies beneath” some of this stuff, mainly this physics. Honestly not even everyone in grad school was all that captivated. As you’ve said before, there’s a lot of “turn the crank” mentality in engineering where you wade through mathematics to get answers, not always thinking about the physics. It’s even worse in the digital world, where everything gets boiled down to computer code!
One more quick thing. I talked to a physics prof once, asking him if there was any research happening in his department
focused on electromagnetics and radio waves, etc. His reply: “radio waves are nothing more than the result of accelerating electrons”. Period! Discussion over. In other words, that’s ancient history. Engineers are still very much involved with new technologies involving antennas and amplifiers, etc. But as far as the physicists are concerned, I get the impression that our whole field is pretty ho-hum. But he was right about accelerating electrons, I also found out later. And it doesn’t have to be electrons. Anything carrying charge undergoing acceleration will emit photons. That’s another crazy situation that I only more recently learned.Hope that was entertaining!
Our book: “SolderSmoke — Global Adventures in Wireless Electronics” http://soldersmoke.com/book.htm Our coffee mugs, T-Shirts, bumper stickers: http://www.cafepress.com/SolderSmoke Our Book Store: http://astore.amazon.com/contracross-20
Almost forgot! Happy Pi Day!

3-14 Get it?
And happy birthday Albert Einstein!
Our book: “SolderSmoke — Global Adventures in Wireless Electronics” http://soldersmoke.com/book.htm Our coffee mugs, T-Shirts, bumper stickers: http://www.cafepress.com/SolderSmoke Our Book Store: http://astore.amazon.com/contracross-20
Watching a Light Beam at One Trillion Frames per Second
Billy alerted me to this TED Talk presentation on an MIT Media Labs project that used new “femto photography” techniques that allow us to watch — in VERY slow motion — a light beam pass through a bottle. Amazing. Makes me think about Einstein’s old thought experiment about running alongside a light wave (but of course here they are slowing down time…)
Here are some details on how they did this:
http://web.media.mit.edu/~raskar/trillionfps/
Our book: “SolderSmoke — Global Adventures in Wireless Electronics” http://soldersmoke.com/book.htm Our coffee mugs, T-Shirts, bumper stickers: http://www.cafepress.com/SolderSmoke Our Book Store: http://astore.amazon.com/contracross-20
Solder Smoke Podcast #147 — Hurricane Sandy Edition
SolderSmoke Podcast 147 is available for downloading:
http://soldersmoke.com/soldersmoke147.mp3
October 29/30 2012
Hurricane Sandy on the way
Thanks for birthday wishes
Einstein — a very nice fellow with a bit of the Knack
Rocket project update
808 key chain cameras (thanks for the Amazon support!)
Audio output transformer for Barbados Barebones RX
Mighty Midget RX — breaking it, fixing it (with help from friends)
Freq counter connection to Tek scope
Halli S-38E — How to avoid electrocution?
The HQ-100’s anti-drift alarm clock
Book Review: “Instruments of Amplification” by H.P. Friedrichs (5 Soldering Irons!)
BANDSWEEP: 20 meter SSB via DC receiver on hurricane day
Report on outcome of the hurricane — inverter saves the day (really the night)
MAILBAG (a big one).
Our book: “SolderSmoke — Global Adventures in Wireless Electronics” http://soldersmoke.com/book.htm Our coffee mugs, T-Shirts, bumper stickers: http://www.cafepress.com/SolderSmoke Our Book Store: http://astore.amazon.com/contracross-20
SolderSmoke Podcast #146
September 23, 2012
Trip to the Dominican Republic: Puerto Plata and Samana
Evading Hurricane Isaac
Honda Accord as an emergency generator
On the air on 75 and 40 AM
17 Meter Azores rig works…THE AZORES!
Working (STILL!) on 20 meter DSB rig. Soon to be JBOTed
Building model rocket with Billy
Book review: “Martian Summer”
Einstein on staying young
Primo Levi on QRP
HOT IRON: G3ROO’s Regen wins West Country prize
Commodity Investment Opportunity: SILVER MICA!
MAILBAG:
SolderSmoke is on 478 THz in Salt Lake City
WA3EIB’s HT-37
Radio-Erotica in Hallicrafters Ad
Our book: “SolderSmoke — Global Adventures in Wireless Electronics” http://soldersmoke.com/book.htm Our coffee mugs, T-Shirts, bumper stickers: http://www.cafepress.com/SolderSmoke Our Book Store: http://astore.amazon.com/contracross-20
Happy Pi – Einstein Day!
The card is for a special event sponsored by the Lake Effect Amateur Radio Club:
http://www.lakeeffectarc.info/Event-PiEinsteinDay/PiDay.htm
I’ve been reading “Math and the Mona Lisa” so lately I’ve been more into Phi than Pi. When will we have Phi Day? January 6th?
Our book: “SolderSmoke — Global Adventures in Wireless Electronics”http://soldersmoke.com/book.htmOur coffee mugs, T-Shirts, bumper stickers: http://www.cafepress.com/SolderSmokeOur Book Store: http://astore.amazon.com/contracross-20
Einstein and Lead-Acid Batteries
In “SolderSmoke — Global Adventures in Wireless Electronics” we discuss the way in which Einstein’s Special Relativity explains how and why transformers and coils work. I thought it was very cool to be able to see the role of Einstein’s theory in our little toroidal transformers. Yesterday The New Scientist (perhaps the best science weekly in the world) brought news that we need to consider relativistic effects if we want to understand how and why our car batteries (and, I suppose, our gel-cells) work:
Thank relativity every time your car starts. Lead-acid batteries get about 80 per cent of their voltage from special relativistic effects.
Check it out (the NS story is short and gets right to the point): http://www.newscientist.com/article/dn19978-car-batteries-run-on-relativity.html?DCMP=OTC-rss&nsref=online-news 



