Hi Guys,
We had our Knightlites annual BBQ this past Saturday. I wanted to share one of the radios from one of my Elmer’s, Alan Victor W4AMV.
Pictured is him standing beside the preselector and receiver.
I hadn’t ever heard a Collins mechanical filter vs Murata crystal filter side by side. The Collins was amazing. Single signal extracted from the band. The rig is line powered with a built in power supply.
There is a note (pictured) that has some specs.
Alan’s work is to be savored, true analog engineering at its best. I wanted to share it with you.
Chris
KD4PBJ
————————————-
FROM W4AMV’S QRZ.COM PAGE:
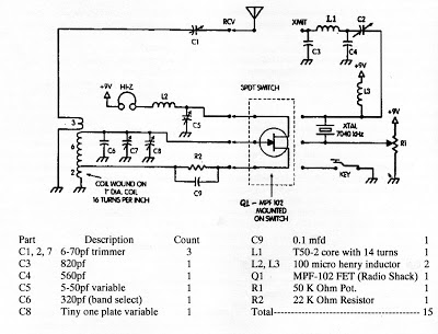
Here is a receiver that started out as a regen for the grandkids to copy code.
Digging through the junk box un convered parts that I forgot I had. Included a wide and narrow band set of filters. So, the unit wound up as a single conversion superhet. A fun radio to build as well to listen. The wide band filter provides super fidelity on sideband as well uncovers plenty of CW signals within a 10 kHz bandwith of the tuned frequency. A switch to either a 800 Hz audio filter or a 500 Hz CW filter permits focus on a single signal. I was going to package the whole unit, however I was prompted to leave it OPEN to show what makes it tick!
Left side front is the RF preselector, mixer and pre amplifier with RF gain control. The rear double deck card is the IF and selectable wide and narrow band filters. The IF and pin diode IF gain control is bottom deck. The HF VFO is center stage with a 6:1 gear reduction. Right rear is power supply and voltage regulators. The active product detector and a BFO is just to the front of the power supply. The BFO is able to tune product detector output over a full 10 kHz of the IF. And finally the audio filter and 5 watt power amplifier. There is no AGC. Instead it is FUN to control every aspect of gain control of the receiver; RF, IF and audio. Its a fun receiver to operate, dedicated to 40 meters and hopefully will spark the kids!
Going forward a receiveing station is setup to copy code. Although a nice long high wire would be proper, I settled on something a little more compact. A 40 meter small loop, 2 turns, about 18 inches on a side is connected to the preselector thru a pickup wire. This arrangement works quite well. W1AW will knock the speaker off the desk if your not careful. However, rotation of the loop to the E-W knocks down W1AW to a whisper. The pix shows the little 25 W infinity speaker in a 8x8x8 inch cardboard box, works well and the single conversion receiver sporting a new front plexiglass panel is illuminated for evening tuning.
————————————————










Loop antenna used with the receiver